iON 怎么样,iON 好不好,日前 iON 新增了美国达拉斯机房,目前达拉斯机房 VPS,最低配为$8/月,配置 1 核/2G 内存/50G SSD/2T 流量/G 口,流量仅计算单向。这篇文章就来测评这款达拉斯 VPS 的性能和速度到底如何,想了解 iON 的达拉斯 VPS 好不好,怎么样的童鞋可以围观了。

官网:https://ion.krypt.asia
促销套餐:
达拉斯 VPS
VPS 特征:KVM 虚拟,纯 SSD 阵列,1Gbps 带宽,流量仅计算单向。暂无 windows 系统。
标注红色文字的为今天的测评机器。
| cpu | 内存 | 硬盘 | 流量 | 端口 | 价格 | 购买 |
| 1 核 | 2G | 50G SSD | 2TB | 1G | 8/月 | 直达 |
| 2 核 | 2G | 60G SSD | 3TB | 1G | 12/月 | 直达 |
| 2 核 | 4G | 80G SSD | 4TB | 1G | 18/月 | 直达 |
| 4 核 | 8G | 160G SSD | 5TB | 1G | 36/月 | 直达 |
| 6 核 | 8G | 320G SSD | 5TB | 1G | 72/月 | 直达 |
测试 IP:
96.62.102.100
站长测评
配置信息

硬件性能

fio 测试 4K

speedtest 测试国内上行下行速度

iperf3 跑欧美测试

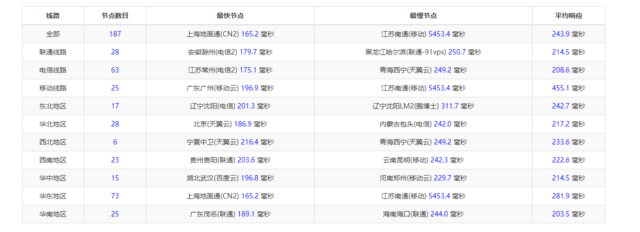
ping 国内延迟测试

Unix bench 测试机器性能

国内去程测试
电信去程,国内部分走电信 163,国外走的是 level3 线路,直连。

联通去程,国内部分走联通 169,国外部分走的是 zayo,直连

移动去程,走移动 cmi,国外部分走的是 level3,直连

国内回程测试
电信回程,走cogentco,国内走电信 163,直连。



联通回程,走level3 或者 zayo,国内部分走 AS4837,直连



移动回程,走 cogent、level3 或者 zayo,国内部分走移动骨干 as9808,直连



线路总结:
电信:回程走 cogent+163,去程一样。
联通:回程level3 或者 zayo+AS4837,去程一样。
移动:走 cogent、level3 或者 zayo+AS9808,去程走移动 cmi 直连。
声明:1、本博客不从事任何主机及服务器租赁业务,不参与任何交易,也绝非中介。博客内容仅记录博主个人感兴趣的服务器测评结果及一些服务器相关的优惠活动,信息均摘自网络或来自服务商主动提供;所以对本博客提及的内容不作直接、间接、法定、约定的保证,博客内容也不具备任何参考价值及引导作用,访问者需自行甄别。2、访问本博客请务必遵守有关互联网的相关法律、规定与规则;不能利用本博客所提及的内容从事任何违法、违规操作;否则造成的一切后果由访问者自行承担。3、未成年人及不能独立承担法律责任的个人及群体请勿访问本博客。4、一旦您访问本博客,即表示您已经知晓并接受了以上声明通告。文章标题:iON:美国便宜 vps,达拉斯机房,1 核/2G 内存/50G SSD 硬盘/2TB 流量/1G 端口,月付$8 起,简单测评文章作者:蝈蝈文章链接:https://www.zhujixk.com/1351.html
你可能也喜欢
- ♥ #4 周年#PQ.Hosting:全场 VPS 优惠 14%,1 核/1G 内存/50G 硬盘/不限流量/10Gbps 带宽,€3.2/月起,可选香港 HE/乌克兰/俄罗斯/荷兰/摩尔多瓦/德国/斯洛伐克/捷克/英国等12/15
- ♥ #十三周年庆#Friendhosting:便宜 VDS 和虚拟主机 5 折优惠,可选荷兰/美国/瑞士/保加利亚等 10 个数据中心,100Mbps 不限流量04/20
- ♥ #国际互联网日#Friendhosting:全场 VPS 六折,€1.8/月起,美国/荷兰/日本等 13 个机房可选05/19
- ♥ AkkoCloud:美国/英国/德国 CN2 GIA 线路 VPS,500Mbps 大带宽,季付 99 元起01/29
- ♥ inetCloud:国外不限流量 vps,五折优惠,1 核/2GB/30G SSD/100M 不限流量,$2/月,可选西雅图/凤凰城/芝加哥等 7 机房05/09
- ♥ iWebFusion:美国洛杉矶机房,1 核/4G 内存/30GB 硬盘/2TB 流量/1Gbps 带宽,$9.38/月起11/14





