桔子数据前面假期特惠促销活动,其香港 CN2机房配置给的很高,16 核心的 cpu,16GB 的内存,提供 20GB 系统盘(win40GB)+100GB 数据盘,价格很美丽,具体线路、性能等如何呢,本文为来测评一下桔子数据的香港 CN2 云服务器,看看实际性能等到底怎么样。

官网:
香港 CN2 云服务器
- CPU:16 核
- 内存:16GB
- 硬盘:100GB
- 带宽:20Mbps
- 流量:2TB/月
- 价格:128 元/月起
- 购买:链接
配置信息/IO 读写测试:


IP 质量检测:

FIO 测试硬盘读写:

国内三网下载:

Speedtest 亚洲节点上行下行测试:

Speedtest 全球节点上行下行测试:

Iperf3 欧美地区的节点的测试:

测试机 BIN 文件,呼和浩特市电信 Chrome 浏览器本地下载测试:

Unix bench Mark 性能跑分测试:

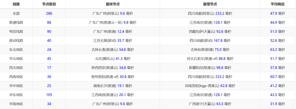
国内 ping 测试:

全球丢包测试:

电信去程测试:

联通去程测试:

移动去程测试:

声明:1、本博客不从事任何主机及服务器租赁业务,不参与任何交易,也绝非中介。博客内容仅记录博主个人感兴趣的服务器测评结果及一些服务器相关的优惠活动,信息均摘自网络或来自服务商主动提供;所以对本博客提及的内容不作直接、间接、法定、约定的保证,博客内容也不具备任何参考价值及引导作用,访问者需自行甄别。2、访问本博客请务必遵守有关互联网的相关法律、规定与规则;不能利用本博客所提及的内容从事任何违法、违规操作;否则造成的一切后果由访问者自行承担。3、未成年人及不能独立承担法律责任的个人及群体请勿访问本博客。4、一旦您访问本博客,即表示您已经知晓并接受了以上声明通告。文章标题:桔子数据:香港 CN2 云服务器,16 核/16GB 内存/100GB 数据盘,128 元/月,简单测评数据分享文章作者:蝈蝈文章链接:https://www.zhujixk.com/61887.html
你可能也喜欢
- ♥ #五一促销#Megalayer:全场 VPS 五折,香港 E3 服务器 299 元/月起,新加坡双 E5 服务器 499 元/月起,可选 CN2/优化带宽04/25
- ♥ Varidata:香港国际/香港国内优化线路 vps,1 核/2GB 内存/50GB SSD/不限流量/400Mbps 带宽,110 元/月起10/13
- ♥ DiyVM:香港独立服务器 499 元/月起,香港/日本/美国 CN2 VPS,月付 50 元起08/01
- ♥ #国庆促销#VollCloud:香港 CMI 大带宽 VPS,全场 8 折,低至 3.9 刀/月,新购送福利,续费送三免,原生 ip,解锁流媒体10/03
- ♥ ZoroCloud:限时 7 折钜惠,香港五网 CN2GIA 补货上新,美国五网 CN2GIA/9929/Cera 高防 VPS/独服,适合建站/远程办公/Chatgpt/Tiktok,34 元起07/24
- ♥ 斯巴达(SpartanHost):西雅图机房高防 vps,AMD Ryzen 5950X KVM VPS(电信联通 AS4837 回程,移动直连),简单测评04/10
热评文章
- Hostdare:搬瓦工同机房,CN2 GIA 线路,9 折优惠中,年付$44.99 起 0
- A400:庆中秋|八折+买一得二/19.2 两个月/洛杉矶 CN2GIA/1H/1G/30M/1T 0
- 微基主机: CU4837 Lite VPS 补货,18 元/月,1 核/512M/20G NVMe/500G 流量/1G 带宽/10G 防御 0
- TMWhost:$31.5/季/1 核/2GB 内存/150GB 空间/1TB 流量/200Mbps-300Mbps 端口/KVM/澳门 ctm 0
- PIGYun:中秋特惠,香港、韩国 CN2+BGP 线路,大带宽,月付 14 元起 0
- Shockhosting:日本东京机房上线,送中国用户 10 刀余额,2 核/2G 套餐月付$9.9 0






